Una patente de Apple recién revelada ha dado un adelanto muy interesante sobre lo que podría ser el futuro de los Apple Watch para la compañía: una futura generación del smartwatch podría incluir una cámara para selfies.
Y quizás te preguntes, ¿quién diablos quisiera una cámara para selfies en su reloj inteligente? Tendría que tener un sensor ultra angular con un ángulo bastante amplio, ya que ni siquiera puedes estirar lo suficientemente el brazo como para que la selfie sea algo más que tu rostro y una pequeña porción de tu alrededor. Pero la realidad es que la patente, que Apple registró en agosto de 2022 en Estados Unidos pero apenas acaba de salir a la luz, detalla que la cámara no solo serviría para tomar fotos sino también para utilizar FaceID, escanear códigos QR o incluso escanear el rostro y partes del cuerpo por motivos de salud (lo que trabajaría en conjunto con otras funciones del reloj y de Apple en general).
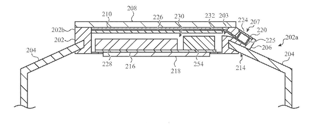
La patente menciona que la cámara estaría ubicada con una caída de unos 45 grados en ángulo con respecto a la pantalla del reloj, y Apple asegura que incluso con esta cámara sería posible para el usuario reemplazar las correas fácilmente, como es el caso hasta ahora. La cámara estaría sujeta a la misma correa, o al menos apoyada sobre ella, y se conectaría al reloj mediante un circuito y conector de diseño nuevo, aunque contaría con algún tipo de protección para no perder la resistencia al agua.

La cámara, como reporta AppleInsider, podría obtener fotos de muy buena calidad. La idea es que el sensor pueda capturar imágenes de hasta 12 MP y grabar video con una resolución de hasta 4K y 30 o 60 cuadros por segundo. Básicamente una cámara de iPhone, pero en la muñeca. Y seguramente lucirá mucho mejor que los accesorios que han hecho otras compañías (como Wristcam) para intentar llevar una cámara al reloj inteligente de Apple.
Es una idea que puede sonar ambiciosa y que, si llegásemos a verla hacerse realidad, muy probablemente no será este año. Sacarse selfies usando el reloj es una idea que quizás resulte más interesante de lo que suena, pero dejando de lado las imágenes y los videos, la idea de poder realizar un pago con el reloj o una transacción y que la confirmación mediante Face ID se pueda hacer directamente con una cámara en el Apple Watch, sin necesidad de sacar el teléfono del bolsillo, suena práctica y prometedora.