Microsoft no ha tenido éxito con los intentos de teléfono plegable Surface Duo, pero ya está considerando su próximo gran avance, y podría ser tan simple como agregar otra pantalla.
Una patente descubierta por Patently Apple sugiere que Microsoft está considerando crear un teléfono con tres pantallas y dos bisagras. Parece una billetera triple un tríptico.
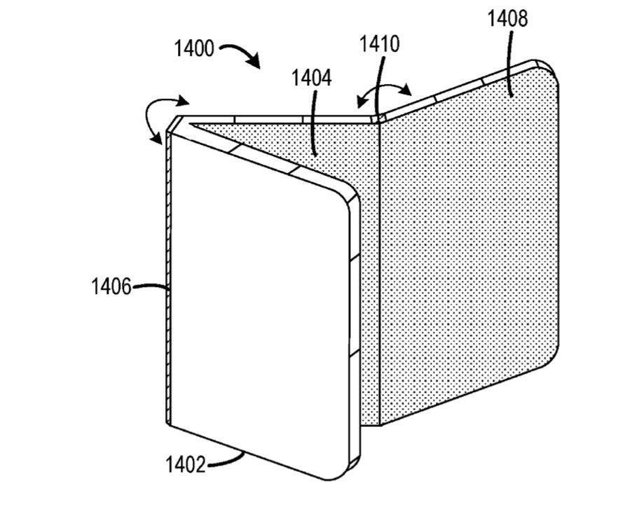
El concepto es esencialmente el Surface Duo actual con un tercer panel conectado a una de las pantallas mediante una segunda bisagra. De esta manera, obtienes aún más espacio de pantalla cuando el dispositivo está completamente desplegado, pero el teléfono no sería mucho más grande que los modelos plegables actuales porque los tres paneles se apilarían uno encima del otro.

Suponemos que sería bastante grueso y pesado; tan grueso que podría no ser cómodo de sostener en la mano o meter en el bolsillo. Pero con suerte, para cuando este dispositivo vea la luz del día, si lo hace, Microsoft haya encontrado la forma de reducir su tamaño. Recuerda que el Surface Duo se abre y se cierra con una bisagra central en lugar de usar una pantalla plegable, como el Samsung Galaxy Z Fold 3.
Dejando a un lado la impracticabilidad de esto, me gustaría que la bestia de tres cabezas de Microsoft se abriera camino en el mercado aunque solo sea por lo absurdo que es. ¿Quién no querría jugar con un teléfono que podría transformarse en una tableta de 10 pulgadas (o más) con un movimiento tan fácil como abrir una billetera? Claro, jugar con dos bisagras puede parecer demasiado complicado, y los teléfonos de doble pantalla ya son demasiado engorrosos para algunas personas, pero estoy preparado para el caos.
Además, una de las desventajas del Surface Duo actual es que no tiene pantalla exterior. Microsoft agregó una barra de previsualización al Surface Duo 2 para que puedas ver las notificaciones rápidamente, pero aún necesitas usar las dos manos para abrir el teléfono antes de poder usarlo. Esta patente podría resolver esta limitación con una tercera pantalla que mira hacia afuera para que puedas usar el Surface Trio (?) como un teléfono normal cuando no necesitas tres paneles que te abrumen con información.
Resulta que Microsoft no es la única empresa que está considerando un teléfono con tres pantallas. Según descubrió LetsGoDigital, Samsung solicitó a mediados de junio una patente ante la OMPI (Organización Mundial de la Propiedad Intelectual) que describe un dispositivo similar con tres pantallas que se puede plegar en forma de Z. Samsung nos mostró cómo se vería este dispositivo en un breve video publicado en YouTube a principios de este año.
Aún más tangible es el concepto triple de TCL, que describimos como “incómodo e increíblemente engorroso”, pero admitimos que la capacidad de desplegar el teléfono en una tableta grande es “bastante impresionante”.
Aunque normalmente te diríamos que no te entusiasmes con los conceptos descritos en las patentes, muchos de los grandes fabricantes están jugando con teléfonos de tres pantallas, o que sugiere que uno podría encontrar su camino hacia el mercado, sea una buena idea o no.