LG ha estado trabajando en todo tipo de dispositivos plegables con diseños tan extraños como un teléfono que se pliega en tres partes, pero hoy por fin ha anunciado un concepto que se hará realidad… algún día. Esto es lo que sabemos sobre el LG Rollable: muy poco. No hay fechas, no hay precios. Ni…
Apple ha enviado a China los primeros prototipos del iPhone plegable que planea poner a la venta en septiembre de 2022, según publica el Economic Daily. El periódico chino cita a fuentes de la cadena de suministro de Apple afirmando que la compañía ha enviado a Foxconn (la empresa que fabrica el iPhone) una serie…
Oppo ha presentado hoy un concepto de teléfono enrollable que, si bien no podemos comprar, lleva el nombre de “Oppo X 2021”, lo que abre la puerta a un posible lanzamiento comercial para el año que viene. El Oppo X 2021 es una nueva iteración en el desarrollo de teléfonos con pantalla flexible. Muy diferente…
El evento virtual de Samsung ha sido largo, aburrido y en ocasiones incómodo de ver, pero el nuevo catálogo de la compañía es impresionante, y llega capitaneado por un nuevo teléfono plegable: el Galaxy Z Fold 2. El Z Fold 2 es el sucesor del Galaxy Fold, que fue el primer dispositivo con pantalla plegable…
La nueva tendencia de los fabricantes de smartphones parece ser experimentar con la forma y factor de los teléfonos mediante el uso de pantallas plegables. Y en el caso de Xiaomi, la compañía no solo ha querido hacer smartphones plegables sino uno con un panel que lo recubre por todas partes. Se trata del Xiaomi…
La resistencia de los móviles plegables siempre está en entredicho. Por ello, en CNET decidieron poner a prueba la bisagra del nuevo Motorola Razr. Un robot sería el encargado de abrir y cerrar el Razr sin parar para comprobar el aguante del terminal, pero el resultado no dejó bien parado al nuevo smartphone de Motorola.…
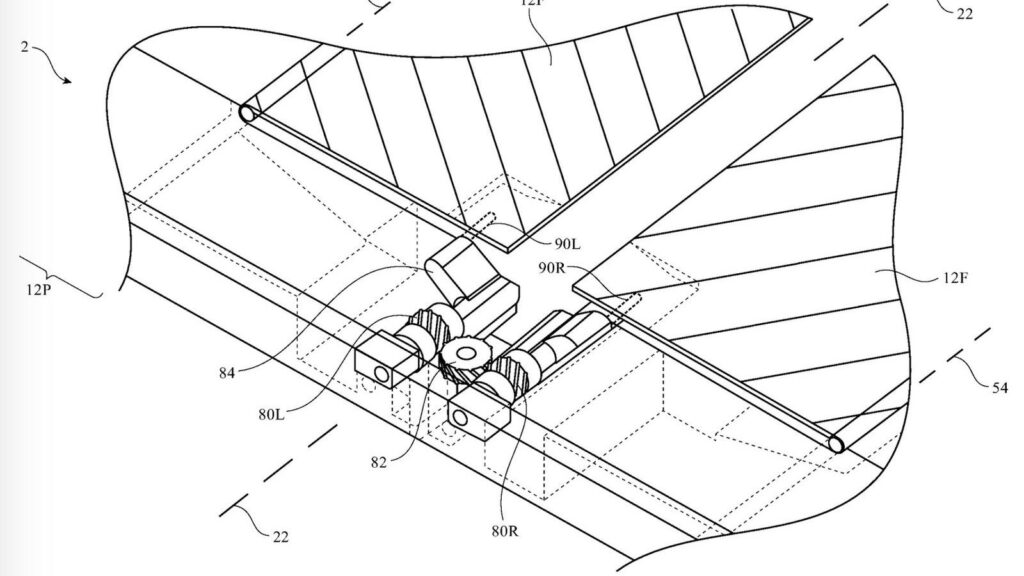
La Oficina de Patentes y Marcas de Estados Unidos ha concedido a Apple la patente de un dispositivo plegable que usa un nuevo tipo de bisagra con dos solapas móviles para evitar que la pantalla flexible se arrugue al cerrarse. Según la patente, el mecanismo puede retraerse para crear un hueco cuando el dispositivo está…
Quedan dos semanas para que Samsung presente oficialmente su nuevo arsenal de teléfonos y la maquinaria de filtraciones está funcionando a máxima potencia. Tras conocer el diseño, las características y hasta los precios de la serie Galaxy S20, hoy toca el turno del Galaxy Z Flip, el nuevo plegable de Samsung. Como sabíamos de anteriores…
Samsung demostró el potencial de los dispositivos de pantalla flexible con el Galaxy Fold, pero hay una serie de mejoras que hacer antes de que los dispositivos plegables lleguen al gran público. Y si los rumores son ciertos, Samsung podría haber resuelto ya uno de los mayores problemas del Fold. Según Max Weinbach de XDA-Developers,…
Hasta ahora, han visto la luz tres tipos de teléfonos plegables: El Samsung Galaxy Fold, que se pliega hacia dentro y tiene una pantalla externa de vidrio para usarse con una mano y ver notificaciones. El Royole Flexpai y el Huawei Mate X, que tienen una única pantalla que se pliega hacia fuera y puede…
El Galaxy Fold apenas fue el comienzo. Samsung parece tener en sus planes continuar experimentando con los smartphones de pantallas plegables o flexibles, y su próxima idea podría ser un modelo con diseño de “clamshell” (o forma de almeja), al mismo estilo del clásico Motorola Razr. De hecho, Motorola recientemente anunció una versión renovada del…
Tras un año de rumores y filtraciones, Lenovo ha presentado oficialmente el nuevo Motorla Razr. Esta vez es todo pantalla, gracias a las bondades de los paneles flexibles. Pero no esperes un superventas como el original (que vendió 130 millones de unidades), especialmente antes de ver el precio. Si no tuviste un Razr, quizá conozcas a…
Vuelven los teléfonos tipo clamshell, pero esta vez son todo pantalla. Motorola presentará un nuevo Razr con panel flexible el 13 de noviembre y Samsung ha mostrado hoy un adelanto del que podría ser su próximo dispositivo plegable. La compañía coreana celebra estos días la Samsung Developer Conference en San Diego, California. En una de…
Huawei retrasó el lanzamiento del Mate X este verano a la espera de que Samsung pusiera a la venta el Galaxy Fold. Ahora que el teléfono plegable de Samsung está llegando a las tiendas, el de Huawei empieza a asomar también. La prensa china publicó la semana pasada que Huawei había empezado a producir en…
Nuevo episodio en el culebrón de los teléfonos plegables: Huawei ha vuelto a retrasar el lanzamiento del Mate X a la espera de que Samsung ponga a la venta el Galaxy Fold en septiembre. Según ha podido saber TechRadar en un evento en Shenzhen, es improbable que el plegable de Huawei salga antes de noviembre.…
Samsung anunció ayer que había arreglado los problemas del Galaxy Fold y estaba lista para lanzar el teléfono plegable en septiembre. Casualmente (ejem, ejem), una periodista china se encontró ayer mismo con el CEO de Huawei, Richard Yu, y este la dejó hacer fotos de su Mate X desde todos los ángulos. El teléfono plegable…
Mientras Lenovo planea el regreso del mítico Motorola Razr en una nueva versión con pantalla flexible, Samsung estaría trabajando en su propio teléfono de tipo concha, según la prensa surcoreana. A diferencia del Galaxy Fold, el nuevo plegable tendría un diseño de barra y se doblaría sobre su eje horizontal. La idea no es reciente.…
Llevamos casi un año oyendo hablar de los teléfonos plegables. Samsung, Huawei, Royole… muchas marcas acaban de irrumpir en el mercado con sus prototipos. Sin embargo, la tecnología que hace posible las pantallas flexibles existe desde hace una década. ¿Cómo funciona esta tecnología? ¿Y cómo es posible que hayan tenido que pasar casi diez años…
Ya hemos visto la irrupción de los teléfonos flexibles de manos de compañías como Samsung, con su Galaxy Fold o Huawei, con su Mate X, y aunque el ‘hype’ en torno a estos dispositivos haya disminuido un poco debido a las preocupacionessobre su durabilidad, eso no ha tirado por tierra las ambiciones de Lenovo. Ahí…
Samsung hace borrón y cuenta nueva. Según 9to5Google, la compañía cancelará todas las reservas del Galaxy Fold a menos que los clientes que compraron el terminal antes de su lanzamiento indiquen lo contrario. El Galaxy Fold nunca llegó a las tiendas, pero sus reservas llegaron a abrirse en Estados Unidos días antes de que empezaran…