Si tienes cierta edad, recordarás la gloriosa época en la que Apple fabricaba sus MacBooks en plástico con acabados en negro mate. No ha vuelto a haber un MacBook negro desde que el plástico se sustituyó por aluminio (lo más parecido ahora es el color gris espacial), pero eso podría cambiar próximamente gracias al empeño de los ingenieros de Apple.
Es difícil pintar de negro un dispositivo de aluminio. Para añadir un acabado de color a un metal, este debe ser sometido a un proceso de anodización con el que se logra una superficie más adhesiva para fijar los pigmentos de la pintura. Pero los metales anodizados tienen acabados brillantes que, debido a la cantidad de luz que reflejan, hacen que el negro parezca gris.
Ahora Apple se ha inspirado en Vantablack para desarrollar una técnica alternativa que evita que la luz rebote en la superficie del aluminio, creando un perfecto acabado negro.

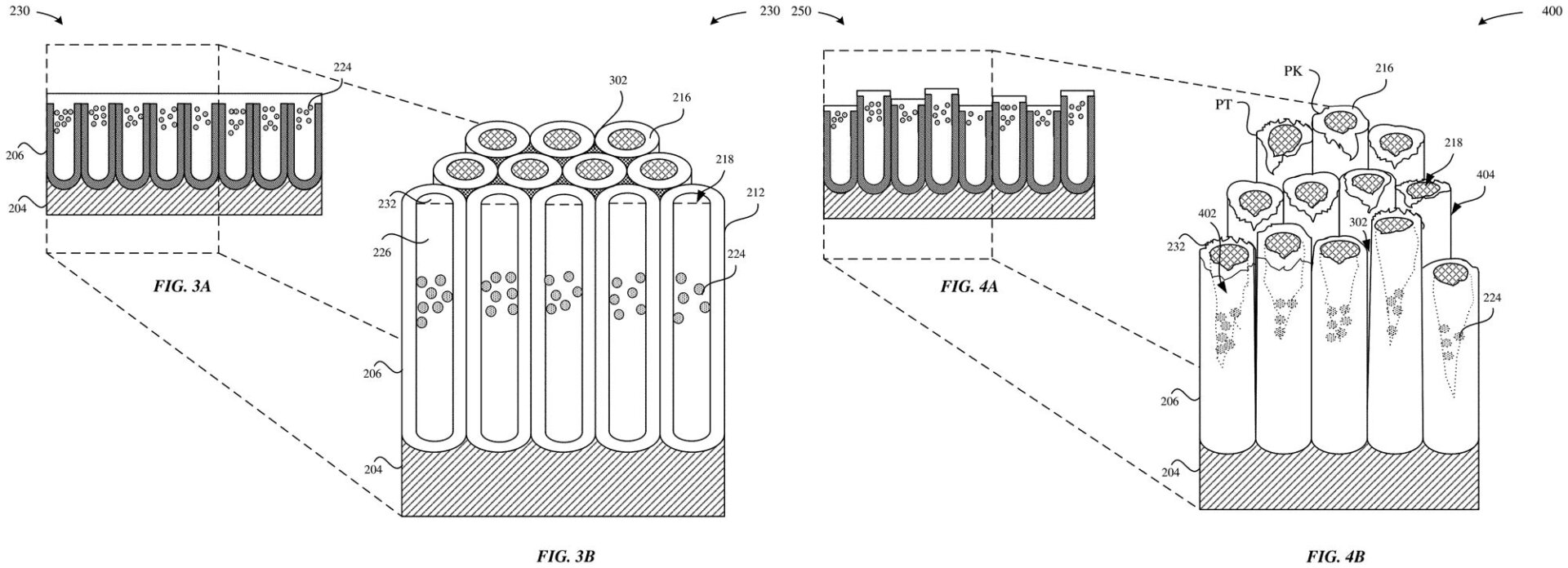
Según la patente, el proceso empieza por anodizar la superficie de un sustrato metálico (la tapa de aluminio de un MacBook, por ejemplo), inyectando partículas de color en los poros microscópicos de la capa de óxido metálico resultante y añadiendo una capa final con características que reduzcan drásticamente la reflectividad del metal.
Un ejemplo sería grabar una serie de salientes y entrantes irregulares, que variaran en altura en solo un par de micrómetros, para hacer que la luz quede atrapada y rebote en direcciones aleatorias, creando un reflejo más difuso.
Desarrollado por Surrey NanoSystems, Vantablack está hecho de nanotubos de carbono microscópicos que pueden atrapar y absorber más del 99,97% de la luz visible, haciendo que la pintura parezca de un negro casi absoluto para el ojo humano.
Vantablack es una marca registrada , por lo que Apple ha trabajado en sus propios métodos para pintar sus productos de negro.