Sinceramente, estoy demasiado cansada para limpiar mi casa. Solía sentirme orgullosa de tener la casa más limpia y reluciente del barrio. Pero luego tuve una hija, y todo se fue por la borda mientras luchaba por recuperar el poco tiempo que me queda libre para poder seguir con mi hobby de montar teclados mecánicos.
Por eso estoy bastante segura de que pertenezco al grupo demográfico al que apunta el nuevo robot aspirador Dyson, que es capaz de subir escaleras. Un artículo de Bloomberg afirma que el fabricante de aspiradoras lleva 16 años desarrollando un robot aspirador que puede limpiar y subir escaleras al mismo tiempo. Los detalles, que han sido revelados en unas patentes publicadas esta semana, muestran que el robot Dyson puede sostener tazas y abrir cajones. Lo único que no está claro es si este proyecto aún se encuentra en fase de producción y planificación o si se trata solo de una idea pensada para más adelante.

Dyson a menudo trabaja en proyectos un poco más alejados de su foco habitual. Desde planchas para el pelo hasta cepillos de dientes, en Dyson parecen destinados a adueñarse de tu casa. Eso sí, aún no se ha confirmado que el robot para subir escaleras sea un producto real.
“Presentamos muchas patentes”, dijo a Bloomberg un portavoz de Dyson. “Pero nunca comentamos nada sobre las tecnologías que podremos o no lanzar en el futuro”.
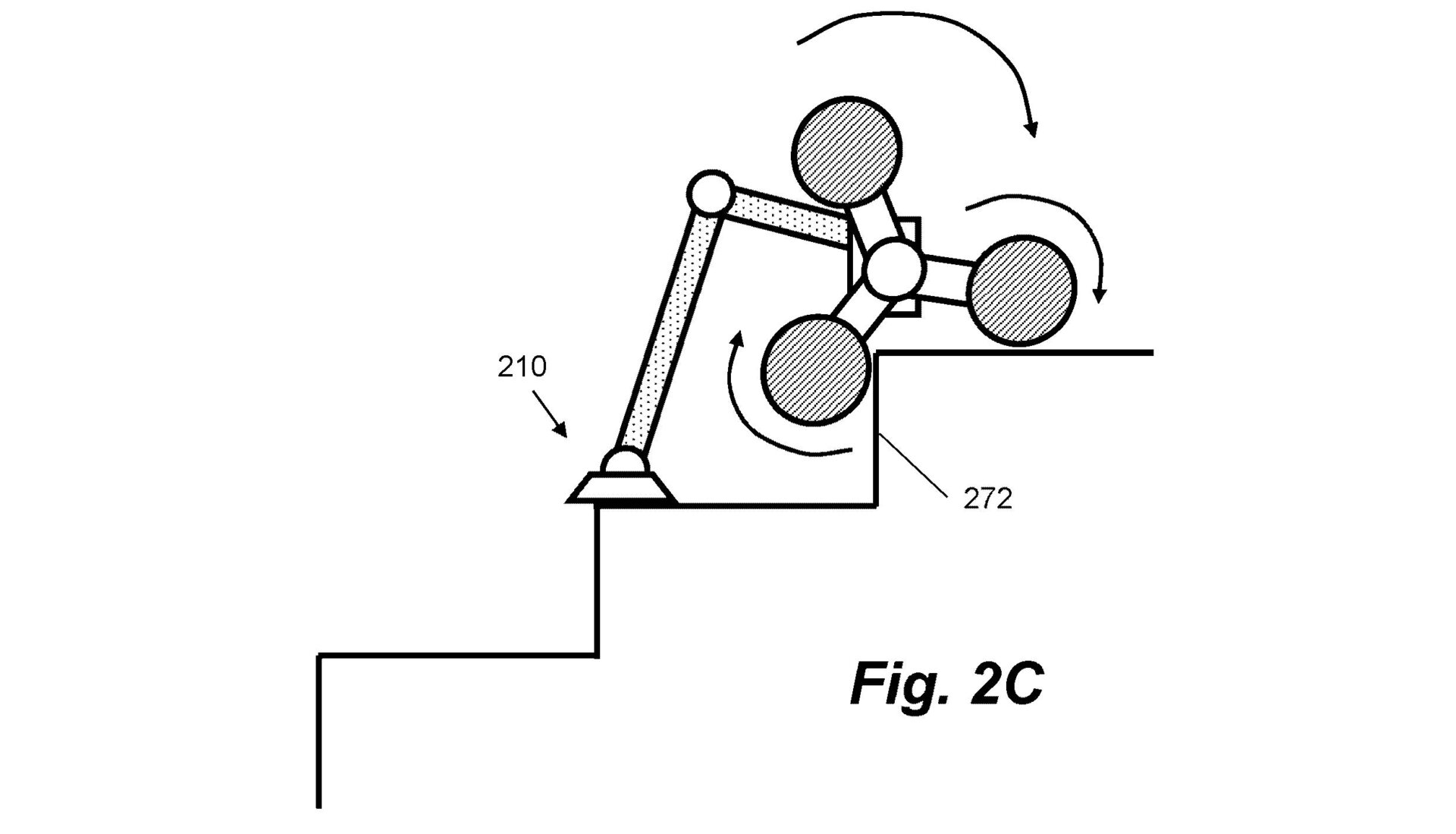
Por el aspecto de la patente presentada en Reino Unido, el robot aspirador Dyson no sería un robot antropomórfico espeluznante. Según los diagramas parece casi una aspiradora antigua solo que con ruedas en lugar de pies y brazos extensibles.

Me suelo mostrar escéptica ante todos estos robots del futuro que vienen a hacernos la vida más fácil. Pero al mismo tiempo, quiero una aspiradora que pueda subir las escaleras. En la patente aparecen detalles que explican la capacidad de “agarre” de los brazos de la aspiradora, aunque sugiere que están ahí para “controlar la orientación” del dispositivo. Pero teniendo en cuenta que se supone que puede agarrar una taza, me gustaría verla apartar una silla del comedor o enderezar una alfombra. Mi mayor batalla con los robots aspiradores actuales es que todavía tienes que vigilar lo que hacen para asegurarte de que no se queden atascados debajo de los muebles o en el pelo de una muñeca que tu querida hija haya dejado en el suelo.
Estoy dispuesto a lidiar con esto si eso significa que mi robot aspirador puede bajar los escalones hacia el salón, dar la vuelta y luego subir las escaleras para limpiar el resto de la casa. Sin embargo, probablemente tendré que esperar varias generaciones antes de poder comprar una aspiradora tan avanzada.