Harley-Davidson ha patentado una tecnología que estaría planeando incluir en sus futuras motos, la cual les permitiría mantener el equilibrio por sí solas, como una ayuda para los conductores ante el considerable peso que suelen tener las motos de Harley.
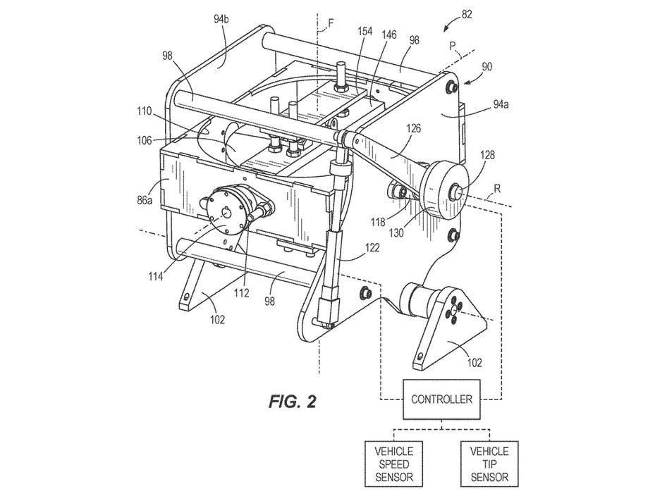
Se trata de un sistema basado en un giroscopio ubicado en el baúl trasero de la moto. Este dispositivo giraría a entre 10.000 y 20.000 rpm (revoluciones por minuto), potenciado por un motor eléctrico, y estaría colocado junto a un gimbal y acompañado de algunos sensores. La idea es que este dispositivo mantenga el equilibrio de la moto cuando se desplaza a baja velocidad o cuando se encuentra completamente detenida, momento en el que el peso puede suponer un problema o dificultad a los conductores. Algunos modelos de Harley, por ejemplo, tienen un peso de unos 300 kilogramos.
Los sensores de velocidad e inclinación le permitirán al sistema determinar cuándo no es necesario, desactivándolo cuando la moto supera los 5 kilómetros por hora, momento en el que el conductor ya tiene el control completo de la moto y su equilibrio.


Por supuesto, los conductores con experiencia pensarán que el peso de la moto no es ningún problema, de hecho, quizás incluso piensen que es parte de su encanto. Y en cierto modo lo es, pero Harley-Davidson cree que este sistema podría ayudar a estos mismos usuarios cuando tengan una edad más avanzada en la que se les hará más difícil controlar el peso de la moto, e incluso podría incentivar a nuevos usuarios que jamás han conducido una Harley, en parte intimidados por su tamaño. Harley no es la primera compañía en trabajar en esta tecnología, dado que Honda y Suzuki también trabajan en sus propios diseños. Ahora solo queda esperar a que la compañía presente su primera moto con sistema de balance asistido en el futuro. [vía Cycle World / Jalopnik]