Un extraño error de iOS está consumiendo demasiados datos móviles y aumentando las facturas mensuales de algunos usuarios de iPhone. Es posible que no te veas afectado, pero vale la pena echar un vistazo (por si acaso). El error se ha encontrado en todos los modelos de iPhone que ejecutan iOS 13, y afecta a…
Después de meses de rumores e incluso tras haberlos visto en algún estante un par de días antes, Apple finalmente ha anunciado sus nuevos auriculares semi inalámbricos: los Powerbeats 4. Diseñados como una alternativa menos costosa a los Powerbeats Pro, los Powerbeats 4 ($150) son en realidad los Powerbeats más asequibles de la historia, y…
Era inevitable. Apple ha anunciado la cancelación del evento presencial de la WWDC 2020, su conferencia anual para desarrolladores. Sin embargo, la WWDC sigue en marcha, pero será un evento completamente online en el que presentarán sus nuevos productos. Apple cada año lleva a cabo en el mes de junio un evento para presentar las…
El profeta de Apple, Ming-Chi Kuo, ha hablado, y parece que, a pesar de las preocupaciones en torno al coronavirus, la compañía tiene planes de renovar varios productos en 2020. Para empezar, Kuo, un analista que generalmente acierta cuando se trata de las próximas tendencias de Apple, señaló que la compañía planea lanzar nuevos modelos…
Todo el planeta se ha visto afectado por el coronavirus. Ya se han tenido que cerrar escuelas, tiendas, estadios… y ahora le toca también a todas las empresas tomar medidas. Apple ha dedidido también poner cartas en el asunto, y ha dado instrucciones a sus empleados para que no ofrezcan probar productos como los Apple…
Una serie de pistas en el código de iOS 14 revela que Apple está trabajando en añadir monitoreo de oxígeno en sangre al Apple Watch y un montón de funciones nuevas que podrían llegar al iPhone y al iPad. El mayor cambio para el iPad sería soporte de ratón extendido. Actualmente, iPad OS permite conectar…
Apple acaba de anunciar que reparará todos los modelos de iPad Air de tercera generación que hayan tenido un extraño problema con sus pantallas. Según Apple, las pantallas en algunos iPads aparentemente comienzan a parpadear antes de quedarse en blanco para siempre, y si eso ocurre, adiós iPad. Si eres uno de los desafortunados al…
A Apple le encanta sacar pecho del modo Noche de sus teléfonos, por ello hace unos meses lanzó un concurso con el que presumir de función, y de paso, de la cámara de sus nuevos iPhone 11. Este martes, Apple anunciaba los ganadores de su concurso. La única condición era que los participantes tenían que…
Aunque el COVID-19 haya perjudicado los resultados financieros de Apple y obligado a la compañía a cerrar temporalmente sus tiendas en China, no ha afectado a sus planes de lanzar nuevos dispositivos: supuestamente, seis nuevos productos con pantallas mini-LED en los próximos dos años. Según el respetado analista Ming-Chi Kuo (a través de MacRumors), el…
En 2017, comenzó una demanda colectiva contra Apple, que alegaba que las actualizaciones de iOS habían ralentizado los iPhones, lo que tuvo consecuencias negativas en el rendimiento de los smartphones. Y ahora, después de una prolongada batalla legal, Apple accedió a resolver la demanda pagando hasta 500 millones de dólares. Según Reuters, en una propuesta…
Las ruedas del Mac Pro han vuelto a ser motivo de burla en Twitter, pero esta vez no por su precio (400 dólares que se suman al precio del ordenador) sino porque no tienen frenos. Esta carencia aparentemente inocua es una valiosa lección para los compradores del equipo más caro de Apple: no lo compres…
Apple no quiere que los villanos de las películas sean vistos con un iPhone en mano. Así lo ha asegurado Rian Johnson, director y guionista de películas como Knives Out y Star Wars: The Last Jedi, mientras explicaba algunos detalles de su último film, que gira en torno a descubrir al responsable de un asesinato.…
Sí, los Mac también son tan propensos al malware y a los virus como un PC con Windows, y probablemente sea mejor que tengas al menos una o dos aplicaciones que puedan brindarte un poco de protección y tranquilidad extra. En un informe reciente de MalwareBytes, la compañía decía que los Mac “superaron a los…
Apple acaba de rediseñar la versión móvil de iCloud y, si vives en una casa dividida por dispositivos Android y iOS, ahora por fin podrás usar la nube de Apple en un teléfono o tablet con Android. De hecho, con un sencillo truco podrás incluso instalar iCloud en tu dispositivo como una aplicación web progresiva…
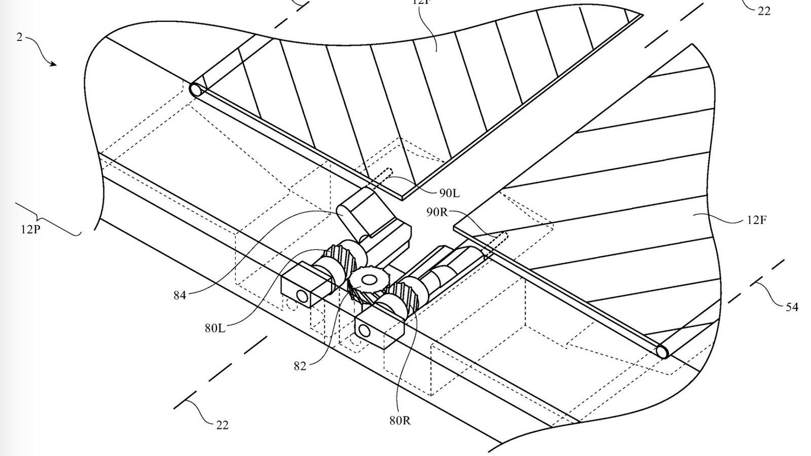
La Oficina de Patentes y Marcas de Estados Unidos ha concedido a Apple la patente de un dispositivo plegable que usa un nuevo tipo de bisagra con dos solapas móviles para evitar que la pantalla flexible se arrugue al cerrarse. Según la patente, el mecanismo puede retraerse para crear un hueco cuando el dispositivo está…
Es ley de vida, y en la tecnología posiblemente un poco más. Los dispositivos y los sistemas operativos que los alimentan, cuanto más antiguos, más dificultad encuentran para adaptarse al avance. Como cada año por estas fechas, WhatsApp ha marcado una frontera donde millones de teléfonos pasan a ser considerados “muy viejos” y dejan de…
Todos sabemos que Apple va a lanzar seguro un nuevo iPhone (o cuatro) este año, y que probablemente también le acompañen un iPad y un Apple Watch nuevos. Pero también se rumorea que la compañía tiene algunos accesorios en camino, y que uno de ellos es una plataforma de carga inalámbrica. Sí, otra. En realidad, Apple…
Todos los rumores apuntan a que habrá un evento de Apple en marzo, y el analista Ming-Chi Kuo cree saber lo que la compañía va a presentar. En resumidas cuentas: no compres un MacBook, ni un iPad Pro, ni un iPhone 8. Según Kuo, Apple planea una serie de lanzamientos para la primera mitad de…
El mes pasado, Wall Street Journal publicó que Apple había mantenido reuniones con MGM sobre una posible adquisición de los activos del estudio. Esta semana, CNBC informa que tanto Apple como Netflix se encuentran entre las compañías que han mantenido discusiones “preliminares” con MGM sobre un acuerdo, citando a dos fuentes familiarizadas con el tema.…
Apple se estaría preparando para dar un lavado de cara completo al iMac, su computador de escritorio. Una patente registrada por la compañía ha revelado el que podría ser el próximo diseño del iMac, un Todo–en–uno basado en un cristal curvo en el que se ubicarían todos los componentes del computador, incluyendo su teclado. La…